Todos recordamos el gran revuelo que se formó cuando Apple nos presento su iPhone X que dejaba atrás al Touch ID para ser reemplazado por el Face ID, la que según la compañía era una tecnología mucho más segura y rápida.
Pero Apple sabía que eso iba a suceder, por lo mismo años antes del iPhone X estuvieron estudiando la forma de incorporar el Touch ID en pantalla para así eliminar el botón físico, y dieron con la tecnología necesaria para hacerlo en mayo del 2016.
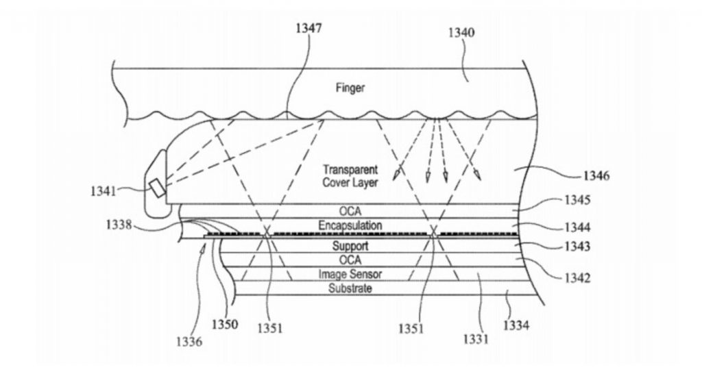
Esto último fue revelado al publicarse una serie de patentes que muestran cómo funcionaría la tecnología que usaría Apple. Se trataría de un lector de huellas óptico y que la pantalla tendría una serie agujeros por donde pasaría la luz para poder reconocer la huella, un método que hasta ahora varios fabricantes utilizan.

La patente revela cómo era capaz este sensor óptico de obtener datos desde la pantalla con gran nitidez, logrando así reconocer perfectamente una huella digital, tal y como lo demuestra la siguiente imagen:

Apple también contaba con otro tipo de tecnología para poder aplicar el Touch ID en pantalla, ya que otras patentes revelaron un método que usaría transductores acústicos que harían vibrar la superficie de la pantalla y así ir registrando las ondas alteradas por el contacto de la huella.
Todo lo anterior Apple ya lo tenía listo en el 2016, pero aún así prefirieron aceptar las críticas e ir por el Face ID, método que también modificaría el diseño y la pantalla al tener que integrar al famoso Notch.
¿Que habrá llevado a Apple a tomar esta decisión?
Probablemente nunca lo sabremos, aunque todos fuimos testigos que los primeros lectores de huella en pantalla que incluyeron algunos dispositivos Android demoraban bastante en reconocer la huella, probablemente Apple sabía esto y no quería dicha experiencia para sus usuarios.
En fin, ¿Qué tecnología prefieres tú? ¿Touch ID en pantalla o Face ID?
Con información de Applesfera

