Cuando hablamos de maneras de hacer nuestro smartphone más cómodo, la remoción del Jack de audífonos es algo que muchos estamos esperando que no se convierta en un estándar en el corto plazo.
Y para todos aquellos usuarios, Microsoft ha patentado una manera de poder poner un Jack de audífonos en poco espacio, razón que las grandes empresas argumentan para no incluir dicho Jack en sus nuevos teléfonos.

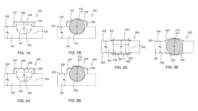
El modelo es bastante simple, y sólo se trata de alinear el receptor y las clavijas de transmisión a un lado del conector en sí. Luego, el mismo se adhiere a una membrana que se expande cuando se la utiliza, y si no la utiliza, la misma recupera su forma original.
Así, no son pocos los que esperan que esta patente debute en una de las nuevas Surface que Microsoft podría estar preparando para el próximo año, o quien sabe, en algún dispositivo móvil. De este modo, de la necesidad van naciendo ideas, y Microsoft puede haber dado con lo que parecer ser una solución más que útil a la hora de incorporar nuevamente el conector de audífonos a nuestros smartphones.

