Parece ser que el gigante de Apple ya estaría planeando o desarrollando a los sucesores de los famosos AirPods, estos audífonos Bluetooth que impresionaron por su buena autonomía y por la tecnología que brinda su chip W1.
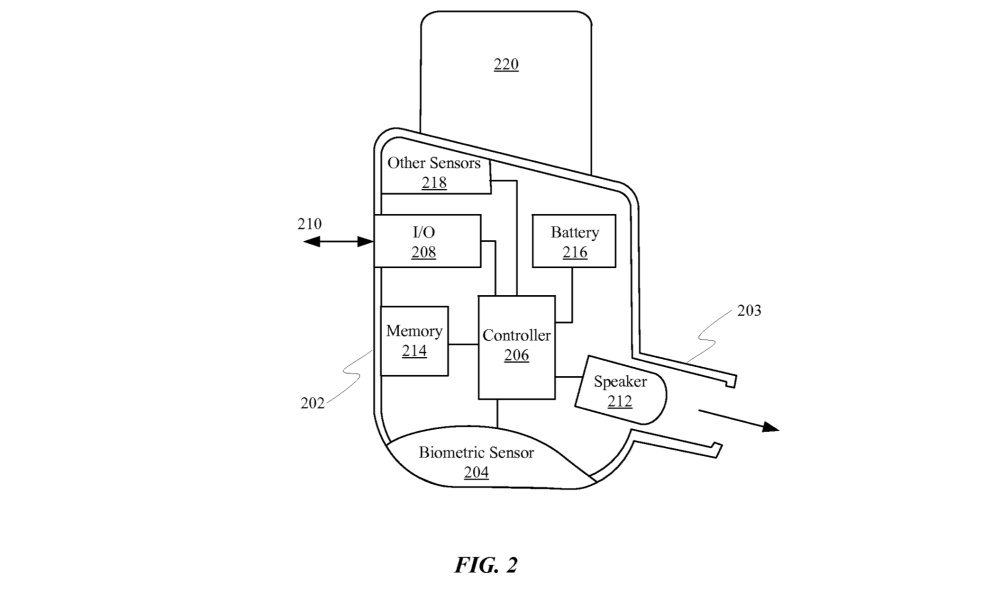
Resulta que en internet ha aparecido una nueva patente de Apple en donde se ven a unos audífonos del tipo in-ear (que van dentro del oído) y que tendrían variados sensores en su interior que estarían dedicados a monitorear tu salud.

Uno de los problemas que tienen los AirPods es que no están del todo insertados dentro de tus oídos, por lo que resulta imposible tener datos como tu ritmo cardíaco. Por lo mismo Apple querría usar audífonos del tipo in-ear y así poder recolectar datos.

Por supuesto no debes entusiasmarte aún, ya que como se trata solo de una patente, es posible que nunca lleguemos a verlos en la realidad, ya que esto no significa que Apple vaya a trabajar en ellos. Sin embargo, desarrollarlos no sería una mala idea por lo que se ve.

