¿Te imaginas si pudieras doblar tu iPhone? En esta ocasión no nos vamos a reír recordando las innumerables bromas sobre el último dispositivo de Apple, si no que vamos a hablar de algo que podría llegar al mercado en un futuro no muy lejano.
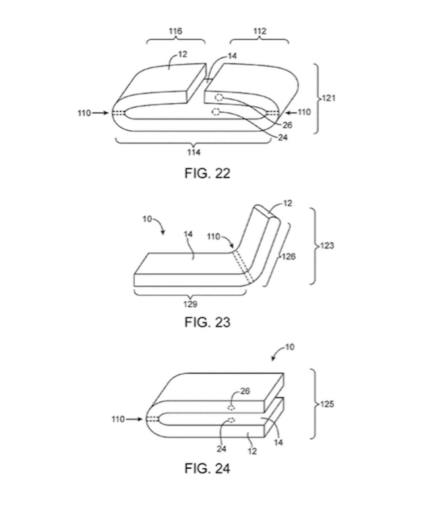
La empresa de Cupertino ha registrado una patente de un smartphone con pantalla flexible, el cual podría doblarse incluso por la mitad. El dispositivo tendría todos sus componentes con la capacidad de ser retorcidos y doblados sin sufrir ningún tipo de complicaciones. Según la fuente, Apple estaría trabajando en una batería que resista este tratamiento. Este iPhone podría estar hecho de plástico, vidrio, metal o incluso silicona.
Más increíble aún es que el equipo podría realizar comandos a partir de gestos y fricción, por lo que doblar el teléfono o estrujarlo podría llevar a alguna acción concreta. El nivel de flexibilidad de este equipo, según las imágenes, superaría con creces al LG G Flex, por ejemplo.
No está demás decir que Apple ha registrado miles de patentes que finalmente no ha ocupado, pero esta podría ser una de las que cambiara el destino de la industria móvil.
Fuente: Apple Insider



